Уход
Правильный уход за раковиной и умывальником помогает сохранить их в отличном состоянии и продлить их срок службы. Вот несколько рекомендаций, которые помогут вам поддерживать чистоту и блеск вашей раковины или умывальника:
- Регулярно протирайте поверхность раковины или умывальника мягкой губкой или тряпкой с мягким моющим средством или специальным чистящим средством для керамики или металла. Избегайте использования абразивных чистящих средств, чтобы не повредить поверхность.
- Удаляйте пятна и разводы с помощью нейтральных моющих средств или специальных средств для удаления водных отложений. Протирайте поверхность внимательно, чтобы избежать повреждения.
- Чтобы избежать появления разводов и водных отложений, регулярно протирайте раковину или умывальник мягкой тряпкой после каждого использования. Это поможет сохранить поверхность в чистоте и блеске.
- Если на поверхности раковины или умывальника появились трудно удаляемые пятна, используйте специальные средства для удаления железных отложений или других загрязнений. Прочтите инструкции и следуйте указаниям производителя.
- Избегайте использования горячей или кипятковой воды для промывки раковины или умывальника, так как это может повредить материал или отделку. Используйте теплую воду при чистке и промывке.
Следуя этим рекомендациям, вы сможете сохранить вашу раковину или умывальник в идеальном состоянии и наслаждаться их красотой и функциональностью на протяжении долгого времени.
Мойки и раковины: в чём разница?
Мойки и раковины часто путают. Между тем, у этих видов сантехнического оборудования разные функции. Классическая раковина – это преимущественно умывальник в ванной комнате, а типичная мойка – всем известное углубление на кухне, предназначенное для мытья (отсюда и однокоренное название) продуктов и посуды.
Конструкция современной мойки включает в себя одну или несколько чаш, крыло или крылья для влажных предметов, а зачастую – и всевозможные приспособления типа решёток и разделочных досок.
Форма чаши
Основное отличие кухонной мойки от раковины в ванной – во внутренней форме чаши. Она, как правило, и шире, и глубже, и специально спроектирована так, чтобы в неё было удобно складывать горы посуды либо подставлять под кран крупные предметы и продукты: кастрюли и сковороды, дичь для мытья, арбузы и дыни.

Материал
Умывальник обычно сделан из санфарфора или санфаянса, а мойка чаще всего – из камня или металла. Они намного больше подходят для использования на кухне, поскольку отличаются от керамики повышенной стойкостью к перепадам температур, механическим воздействиям и пр. Специальные аксессуары обычно подходят лишь к определённой модели мойки и в комплект поставки не входят.

Дополнительное оборудование
Многие кухонные мойки оснащаются приспособлениями, которые делают возню с продуктами и посудой не столь утомительной. Это прежде всего так называемые крылья, в которые удобно укладывать чистые влажные чашки и вымытые фрукты. Также кухонная мойка может иметь решётки, корзины, доски, дуршлаги и др. На кухонную мойку, в отличие от раковины в ванной, всегда монтируется кухонный смеситель с длинным изливом, который может быть выдвижным. Также нередко используется специальная душевая лейка. Этими приспособлениями удобно пользоваться для мытья крупных и длинных предметов.

Критерии выбора мойки
• Размер. Он во многом зависит от площади самой кухни. Например, в шестиметровом помещении будет несколько нелепо смотреться мойка с крыльями, общей шириной в 120 см.;
• Количество чаш. Варьируется от одной до пяти, наиболее популярны двойные и полуторные (одна чаша большая, другая маленькая) варианты. Дополнительные чаши предназначены для раздельного мытья посуды и овощей/фруктов. Если чаш три и более и они находятся на большом расстоянии друг от друга, придётся устанавливать смеситель с выдвижной лейкой-душем, а это – дополнительные расходы;
• Стиль. Мойка не должна выбиваться из общего дизайна кухни. Так, классическая модель из меди явно войдёт в противоречие с гладкими лакированными фасадами и «утопленными» ручками из нержавейки;
• Способ установки. Сделайте выбор между накладной и врезной мойкой. Первая располагается поверх столешницы и держится на ней за счёт собственных бортиков. Вторая – врезается заподлицо с поверхностью. В обоих случаях необходима хорошая гидроизоляция

Мойка: особенности посуды для разных целей
1. Мойка для мытья посуды:
- Обычно имеет одну большую чашу для мытья крупной посуды;
- Имеет глубокую чашу, что помогает избежать брызг и разбрызгивания воды во время мытья;
- Может оснащаться сливной корзинкой для отделения мусора от воды;
- Встроенная подставка для сковородок или крышек может быть полезна при мытье крупной посуды;
- Часто имеет отверстие под смеситель, чтобы легко заполнить ее водой.
2. Мойка для овощей и фруктов:
- Обычно имеет мелкую чашу и гладкую поверхность, чтобы легко мыть овощи и фрукты;
- Небольшой размер позволяет удобно помещать ее на рабочей стол;
- Имеет отверстия или сетку для отвода воды и освобождения нарезанных овощей или фруктов;
- Часто выполнена из нержавеющей стали, чтобы обеспечить гигиеничность.
3. Мойка для рук:
- Обычно имеет маленькую чашку и друшлак для сушки рук;
- Часто имеет пластиковую поверхность для лучшей гигиены;
- Может иметь автоматическое управление температурой воды;
- Встроенный сушитель для рук может быть полезен для быстрого и эффективного сушения.
Важно выбирать мойку, которая подходит вашим потребностям и целям использования. Подходящая мойка поможет облегчить задачи в кухне и сохранить вашу посуду в идеальной чистоте и гигиене
Мойка на кухне и ее особенности
Одним из главных различий мойки на кухне является ее размер. Кухонная мойка обычно больше, чем умывальник или раковина в ванной комнате. Это связано с необходимостью поместить в нее большое количество посуды и продуктов при приготовлении пищи.
Еще одной особенностью мойки на кухне является ее конструкция. Обычно она представляет собой глубокий металлический или керамический бассейн с отверстием для смесителя. Часто на мойке устанавливаются дополнительные элементы, такие как сушилка для посуды или аксессуары для организации рабочего пространства.
Важным аспектом мойки на кухне является ее материал. Она должна быть изготовлена из прочного и стойкого к различным воздействиям материала, чтобы обеспечить долгий срок службы. Популярными материалами для изготовления кухонной мойки являются нержавеющая сталь, керамика и гранит.
Кроме того, мойка на кухне часто оснащается специальными системами фильтрации воды, чтобы обеспечить чистоту и безопасность воды, используемой в пищевых целях. Также существуют различные модели моек с автоматическими сливными системами, которые облегчают процесс утилизации отходов.
Наконец, мойка на кухне играет важную роль в эргономике рабочего пространства. Она должна быть установлена таким образом, чтобы было удобно работать и двигаться вокруг нее. Поэтому выбор мойки на кухне следует осуществлять с учетом не только внешнего вида, но и функциональности и комфорта использования.
В итоге, мойка на кухне является специальным типом раковины, который отличается от умывальника или раковины в ванной комнате. Она имеет больший размер, специальную конструкцию, прочный материал, системы фильтрации и эргономичное расположение. Эти особенности делают мойку на кухне незаменимой частью удобного и функционального кухонного пространства.
Функциональность
Умывальник, в свою очередь, представляет собой отдельную конструкцию, которая может быть установлена непосредственно на столешницу или на шкаф. Он может иметь одно или два отверстия для смесителя, а также дополнительные элементы, такие как полки или ящики для хранения.
Чем отличается умывальник от раковины? В отличие от раковины, умывальник предлагает больше пространства для хранения и некоторые варианты могут быть оснащены дополнительными функциями, такими как подсветка или зеркальная поверхность. Он может также иметь более современный дизайн и использоваться в более престижных пространствах, таких как гостиные или спальные комнаты.
Раковины и умывальники могут быть выполнены из различных материалов, таких как керамика, искусственный камень или нержавеющая сталь. Они могут иметь разные формы и размеры, что позволяет выбрать подходящий вариант для любого интерьера.
Таким образом, при выборе между раковиной и умывальником, необходимо учитывать их функциональность и соответствие вашим потребностям в комнате.
Различные раковины с дополнительными функциями
Чем же отличается раковина с дополнительными функциями от обычной раковины?
- Множество полезных функций. Функциональные раковины оснащены встроенными элементами, такими как смесительные краны с сенсорным управлением, диспенсеры для жидкого мыла, фильтры для питьевой воды и многое другое. Они облегчают выполнение повседневных задач и делают процессы более удобными и эффективными.
- Стандартные раковины позволяют просто помыть руки и лицо, а раковины с дополнительными функциями позволяют сделать это с максимальным комфортом и удобством. Например, дополнительные вырезы для мыла или салфеток встроены прямо в столешницу раковины.
- Место для хранения. Одним из наиболее полезных дополнений к раковине являются ящики или полочки, предназначенные для хранения гигиенических средств или других необходимых предметов. Это позволяет держать раковину в порядке и избавиться от ненужного хлама на поверхности раковины.
- Длинные столешницы. Если вы предпочитаете длинные столешницы для раковины, то вам будет интересен вариант с дополнительными функциями. Длинные раковины приобретаются не только из эстетических соображений, но и с практической точки зрения. Они позволяют разместить больше принадлежностей, а также приготовить или сделать что-нибудь рядом с раковиной без проблем.
Таким образом, раковину с дополнительными функциями отличает множество преимуществ. Они делают обычное пространство для гигиены в просторное и функциональное место, где можно выполнять не только гигиенические процедуры, но и хранить необходимые предметы. Выберите раковину с дополнительными функциями и наслаждайтесь комфортом и удобством в вашей ванной комнате или кухне.
Особенности умывальников с различными функциями
Одним из важных вариантов умывальника является умывальник с подсветкой. Такой умывальник оснащен встроенной системой освещения, которая создает приятную атмосферу и позволяет использовать его даже при минимальном освещении в помещении. Это особенно удобно в случаях, когда вы хотите провести ночной ритуал ухода за кожей или просто насладиться расслабляющим временем в ванной комнате.
Другим вариантом умывальника является умывальник с сенсорным управлением. Он оснащен специальным сенсорным датчиком, который активируется при прикосновении к поверхности или при приближении рук. Это позволяет избежать неприятных контактов с поверхностью и управлять водой без использования рычагов или кнопок. Такой умывальник обеспечивает удобство и гигиеничность использования.
Еще одним уникальным вариантом умывальника является умывальник с системой очистки воздуха. Он оснащен специальными фильтрами, которые ионизируют и очищают воздух от неприятных запахов и бактерий, создавая свежую и чистую атмосферу в ванной комнате. Это особенно полезно для людей с аллергиями или просто для тех, кто желает поддерживать идеальные условия в помещении.
Таким образом, умывальники с различными функциями предлагают дополнительные удобства и возможности, которые могут сделать вашу ванную комнату более стильной, удобной и гигиеничной. Выбирайте умывальник в соответствии с вашими потребностями и предпочтениями, и наслаждайтесь комфортом и функциональностью, которые он предоставляет.
Растворение споров: как корректно говорить
В ходе бытовых и профессиональных обсуждений мы часто сталкиваемся с разными точками зрения на определенные вещи. Использование правильных терминов может помочь избежать недоразумений и конфликтов. Но что делать, если возникают споры насчет того, как правильно говорить?
Решить такие споры можно, обратившись к источникам авторитетной информации, таким как словари и справочники. Они помогут определить формальное значение терминов и указать на их правильное использование.
Если же мы говорим об употреблении терминов в повседневной речи, важно учесть, что язык живой и изменяется со временем. Некоторые слова могут иметь несколько значений или употребляться в разных регионах
При общении важно принять во внимание контекст и привычки собеседника
Также стоит помнить о том, что язык – это средство общения, и его основная цель – быть понятым и понимать других. Если вы обнаружили, что неправильно произносите или употребляете определенное слово, не зазорно признаться в этом и запросить рекомендацию у собеседника. Ведь только так можно разрешить языковые разногласия и научиться говорить правильно.
Итак, для растворения споров важно руководствоваться правилами источников и учитывать живой характер языка. Не забывайте о взаимопонимании и готовности учиться
Грамотное и точное использование терминов поможет нам лучше общаться и избегать недоразумений.
Мойки
На кухне они используются для мытья предметов, каковые не связаны с телом человека, в большинстве случаев это овощи, фрукты, посуда. В обиходе умывальник, ванна и мойка смогут кроме этого употребляться в виде рукомойника – где ближе, там и возможно помыть руки. на данный момент кухонные мойки изготавливают в большинстве случаев из нержавеющей стали с содержанием хрома и никеля.
По методу монтажу она возможно накладной либо врезной. Последние устанавливают в столешницах кухонных гарнитуров. Их разнообразие форм обусловлено возможностью вырезания в столешнице любого нужного размера.
Несложнее в установке накладной вариант изделий – достаточно сделать отверстие в столешнице и сверху установить мойку. Ее цена заметно меньше.
Конструкция возможно самой различной:
- камер для работы не редкость – 1,2 либо 3;
- угловые;
- круглые;
- круглые;
- прямоугольные;
- с дополнительным водным фильтром;
- с дополнительной пробкой;
- по глубине, размерам и толщине стенок.
Разница между умывальником, раковиной и мойкой
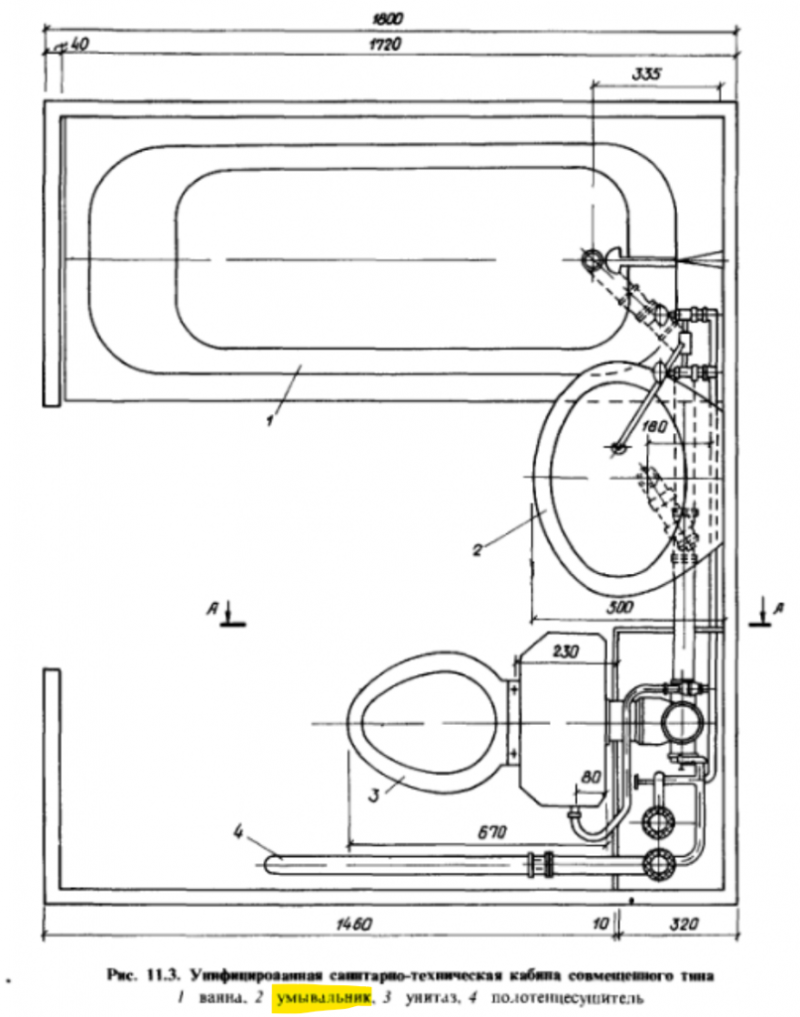
Для студента и проектировщика существует неясность в понимании значения терминов «раковина», «умывальник» и «мойка» применительно к санитарным приборам. Постараемся разобраться, в чем отличие.
Здесь же приводится вот такое изображение унифицированной санитарно-технической кабины:

Можно отметить, что несмотря на наличие поворотного смесителя, приемник сточной воды в данном случае обозначен именно как умывальник.
Отсюда можно сделать вывод, что умывальник предназначается для мытья рук, раковина / мойка — для мытья не рук, а других предметов, например, посуды.
Здесь же есть пункт 9.34, который говорит о том, что «В многоквартирных жилых домах в первом, цокольном или подвальном этажах следует предусматривать кладовую уборочного инвентаря, оборудованную раковиной«.
По СП73.13330 умывальники, раковины и мойки отличаются высотой установки

Фрагмент таблицы 3 СП73.13330 (Внутренние санитарно-технические системы зданий)
В основном документе СП30.13330 раковинам, мойкам и умывальникам соответствуют различные расходы воды и стоков.
Резюме
Можно подвести такой итог исходя из анализа нормативной и технической литературы:
Дизайн и стиль
| Умывальник | Раковина |
| Более строгий и прямоугольный дизайн | Более плавные и круглые формы |
| Часто используется в современном интерьере | Популярна в классическом и провансальском стиле |
| Может быть настольным или встроенным | Чаще всего устанавливается на столешницу или ножки |
| Изготавливается из различных материалов, таких как керамика, стекло, камень | Изготавливается в основном из керамики |
Выбор между умывальником и раковиной зависит от предпочтений дизайна и стиля, а также от особенностей помещения и его функциональности. Компания «Раковины-магазин» предлагает широкий выбор обоих изделий, чтобы каждый мог найти идеальное решение для своей ванной комнаты или туалета.
Тенденции в дизайне раковин
Мир дизайна раковин постоянно меняется и развивается. Современные тенденции в дизайне раковин отличаются от классических решений и предлагают новые варианты, которые могут удивить и вдохновить.
Одно из главных направлений современного дизайна раковин — это минимализм. Многие раковины сегодня имеют простые формы, гладкие поверхности и отсутствие лишних декоративных элементов. Такие раковины идеально подходят для современных интерьеров, где ценится функциональность и эстетика.
Еще одна популярная тенденция — это использование натуральных материалов. Раковины из натурального камня или дерева добавляют особый шарм в ванную комнату и создают ощущение природной гармонии. Кроме того, такие материалы долговечны и прочны.
Сегодня актуальными становятся раковины с нестандартной формой. Это могут быть раковины с оригинальной геометрией, асимметричные раковины или раковины с необычными краями. Такие раковины помогут сделать интерьер уникальным и завершенным.
Также стоит обратить внимание на инновационные технологии в дизайне раковин. Например, некоторые раковины оснащены встроенной подсветкой, что создает интересный световой эффект
Кроме того, есть раковины с сенсорным управлением, которые позволяют регулировать температуру воды и поток воды без использования рук.
В общем, современный дизайн раковин предлагает широкий выбор вариантов, чтобы каждый мог найти идеальную раковину, отличающуюся своей функциональностью, эстетикой и инновационными решениями.
Тенденции в дизайне умывальников
Современные тенденции в дизайне умывальников предлагают более широкий выбор форм, материалов и цветов, которые делают их отличными от классических раковин.
Одна из основных отличительных особенностей умывальников — их форма. В отличие от раковин, которые зачастую имеют классическую овальную или прямоугольную форму, умывальники могут быть представлены в самых необычных геометрических формах, таких как круг, треугольник, трапеция и другие.
Также умывальники отличаются по материалам, из которых они изготовлены. Типичные материалы для умывальников включают керамику, мрамор, стекло, металл и искусственный камень. Керамические умывальники являются наиболее популярными и широко используемыми, так как они прочные, практичные и легко поддаются очистке. Однако современные тенденции предлагают более экспериментальные материалы, такие как матовое стекло или материалы с металлическим орнаментом.
Цветовая гамма также является важным аспектом в дизайне умывальников. Классические раковины обычно могут быть только белыми или черными, но умывальники могут быть представлены в большом разнообразии цветов: от нейтральных, таких как белый и черный, до ярких и необычных, например, розовый, голубой или зеленый.
Интересная особенность современных умывальников — их функциональность. Они могут быть оснащены различными дополнительными функциями, такими как подсветка или встроенные смесители.
В итоге, умывальники отличаются от раковин своим более смелым дизайном, выбором материалов и цветов, а также функциональностью. Это позволяет создать уникальные интерьеры в ванных комнатах и обеспечить комфортное использование.
| Раковина | Умывальник |
|---|---|
| Овальная или прямоугольная форма | Широкий выбор геометрических форм |
| Белый или черный цвет | Большой выбор разнообразных цветов |
| Ограниченный выбор материалов | Различные материалы, включая стекло, мрамор и металл |
| Простой дизайн без дополнительных функций | Возможность добавления функциональности, например, подсветки или встроенного смесителя |
Умывальники
Ниже рассмотрим материалы, из которых изготавливают эти сантехнические изделия и их виды.
Материалы
Современный умывальник в ванной комнате нередко бывает центром ее притяжения, являясь настоящим произведением искусства.
При выборе материалов для изготовления различных раковин обращают внимание на два основных требования:
- прочность;
- водостойкость.

Эксклюзивные умывальники раковины для ванной комнаты
Затем рассматривают:
- эстетику внешнего вида;
- требовательность к эксплуатации;
- стоимость готового изделия.
| Керамика | Получила самое большое распространение. Долговечна при правильном обращении. Может дать трещину или разбиться при ударе, если в прибор упадет тяжелый предмет. Керамическими материалами для производства раковин являются:
Цена первых двух достаточно высокая, вторые — дешевле, но их внешний вид и качество не уступают предыдущим. |
| Камень | Самый роскошный и дорогой материал. Изготавливают сантехприборы из искусственного или природного камня (оникса, гранита или мрамора). Искусственный мрамор обладает некоторыми преимуществами перед натуральным материалом:
|
| Стекло | Самые современные в больших количествах производимые раковины. Производят их из ударопрочного стекла. |
| Композит | Изделия отличаются повышенной ударопрочностью. В производстве применяют смесь акрила с каменной крошкой. |
Пластмассовая раковина для умывальников на даче
Есть также металлические умывальники, которые почти не применяются в ванной комнате. Особо оригинальными считаются деревянные варианты.
Виды
Можно сегодня выделить несколько основных видов таких изделий для ванных комнат.
Отличаются между собой они способом крепления:
- подвесные (консоль);
- напольные — «тюльпан» и «тазик»;
- мебельные — встроенные модели раковины.
Достоинства каждого вида:
Подвесные умывальники:
- небольшие по размерам, что дает возможность снизить массу конструкции;
- не занимают в помещении много места, экономя пространство комнаты;
- подача и слив монтируются внутри стены. Хотя это и экономит пространство, но увеличивает затраты на монтаж.

Подвесная керамическая раковина для дачного умывальника
Напольные размещают на опоре:
- монтаж несложный, выполняется самостоятельно;
- могут иметь большой вес и габаритные размеры.
«Тюльпан» — устанавливают на неширокой ножке, в которую прячут трубы и другие коммуникации.
«Тазик» — отличается экстравагантностью. Раковина устанавливается на ровной столешнице. Форма – шар, куб, конус, резко контрастирует на плоскости стола, создавая непривычный вид, а также ощущение, что изделие можно просто взять и отодвинуть.

Установка умывальника своими руками типа «тюльпан»
Мебельные – обладают дополнительными удобствами:
- встраиваются в стол или в ванный комплекс;
- инструкция разрешает монтировать под ними полочки и шкафчики для хранения мелких предметов.

На фото — подвесная мебельная тумба умывальник с раковиной
Монтаж
Раковина отличается от умывальника не только внешним видом, но и процессом монтажа. Как правило, раковины устанавливаются на специальную подставку или шкафчик, который обеспечивает поддержку и фиксацию раковины на нужной высоте
При монтаже раковины важно учитывать ее размеры и расстояние до стены, чтобы обеспечить комфортное использование и сохранить эстетический вид
Умывальник, в отличие от раковины, обычно монтируется на стену. Для этого необходимо предварительно установить крепежные элементы, такие как навесные консоли или специальные кронштейны. Умывальник также может быть установлен на шкафчик или подставку, но основная нагрузка все равно ложится на крепежные элементы на стене.
Важно помнить, что правильный монтаж раковины или умывальника является важным условием для долговечности и безопасности эксплуатации. Поэтому, при необходимости монтажа, лучше обратиться к профессионалам, которые смогут выполнить работу качественно и соблюсти все требования и нормы безопасности
Способы установки раковин
Существует несколько способов установки раковин, которые отличаются в зависимости от их типа и конструкции:
- Настенный монтаж: раковина крепится непосредственно к стене с помощью специальных кронштейнов. Этот способ установки наиболее распространен и подходит для большинства раковин. Он позволяет освободить пол под раковиной и облегчает уход за помещением.
- Пьедестальный монтаж: раковина устанавливается на пьедестал, который скрывает все коммуникации, такие как трубы и слив. Этот способ придает раковине элегантный и классический вид, однако требует наличия подводки воды и канализационной трубы в полу или стене.
- Мебельный монтаж: раковина устанавливается на специальную мебель или тумбу, которая скрывает коммуникации и обеспечивает дополнительное место для хранения в ванной комнате. Такой способ установки раковины позволяет создать стильный и функциональный интерьер.
Выбор способа установки раковины зависит от ваших предпочтений, архитектурных особенностей помещения, доступных коммуникаций и общего стиля дизайна ванной комнаты
Важно учесть все эти факторы перед покупкой и установкой раковины, чтобы достичь оптимального уровня комфорта и эстетики в ванной комнате
Способы установки умывальников
Установка раковины и умывальника отличается по способам их крепления. Раковина может быть установлена на пьедестал, настенно, на столешницу или встроена в мебель, а умывальник может быть установлен на столешницу или встроен в мебель.
Пьедестальная установка раковины предполагает установку раковины на специальный подставку — пьедестал. При этом все коммуникации и крепления скрыты за пьедесталом, что придает ванной комнате эстетичный вид.
Настенная установка раковины подразумевает крепление раковины непосредственно к стене. Раковина может иметь специальные крепления, которые зафиксированы к стене с помощью дюбелей и анкеров. Этот способ установки экономит пространство и позволяет легко убрать раковину при необходимости.
Умывальник может быть установлен на столешницу, при этом столешница выполняет роль опоры для умывальника. Установка на столешницу позволяет использовать пространство под умывальником для хранения различных вещей.
Если умывальник встроен в мебель, то он интегрирован в мебельный корпус. Такой способ установки позволяет создать комфортное и функциональное рабочее пространство в ванной комнате, а также скрывает все коммуникации и крепления.
























